王健林已被冻结4.9亿股权
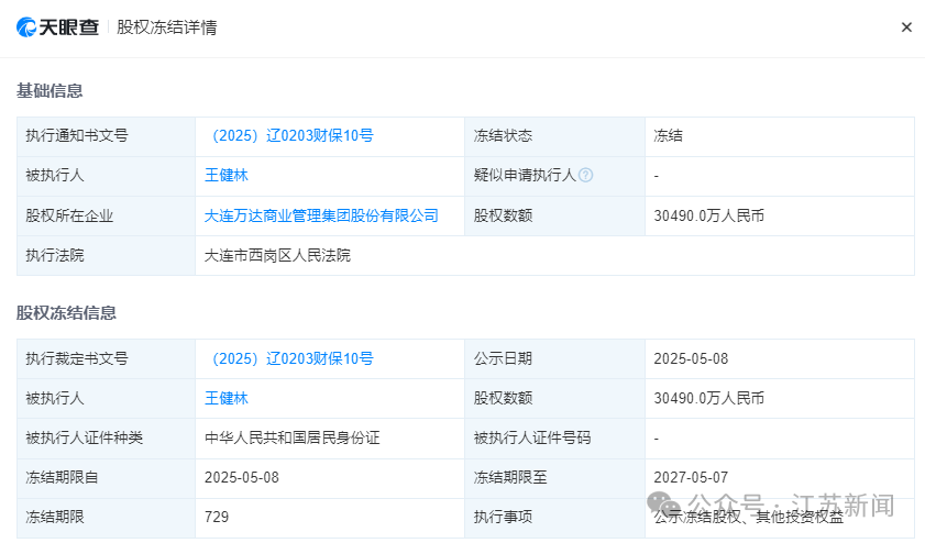
天眼查App显示,近日王健林所持大连万达商业管理集团股份有限公司超3亿元股权被冻结,执行法院为大连市西岗区人民法院。

王健林持有多家公司股份被冻结。今年以来,王健林所持有的大连万达集团股份有限公司、大连合兴投资有限公司、万达体育有限公司、珠海万达锐驰企业管理有限公司等部分股权先后被冻结,合计被冻结股权数额超4.9亿元。

今年5月,王健林再度“断腕”以破解债务难题
为缓解流动性压力,王健林2017年作价637亿元将13个文旅项目和77家酒店,分别售予融创和富力。2025年5月,王健林又一次把核心资产拿出来,计划将旗下48座万达广场打包出售。
国家市场监管总局近日披露,太盟珠海、高和丰德、腾讯控股、京东潘达、阳光人寿直接或通过其各自关联方共同设立合营企业,并通过合营企业收购大连万达商业管理集团股份有限公司直接或间接持有的48家目标公司的100%股权。
热门内容:
- 多地强调 防疫不能无差别无休止地管控和限制
- 下周起,徐州公交这些线路有变化!
- 徐州信息网恭祝全市人民中秋快乐!
- 徐州市住房和城乡建设局某原副局长被判刑!
- 徐州驾校8月份合格率排名出炉!
- 铜山这些校外培训机构被查!
- 不调休!中秋节放假安排来了
- 徐州市常态化开放核酸采样点明细来了!
- 徐州主城区16所公办热门小学启动电脑派位!
- 徐州九顶山野生动物园 9月28日正式开园迎客!
- 徐州第3轮地铁规划
- 徐州又出新政,公积金偿还商贷细则来了!
- 汽车客运南站、汽车客运西站即将终止站务经营
- 2022年徐州最新最全买房、贷款、落户政策
- 移步换景!一起来看看彭城广场新面貌
- 核酸采样小屋,亮相徐州!
- 徐州市居民小区,开始集中整治!
- 徐州市全员核酸检测预约登记系统正式启用
- 被通知集中隔离应该做什么?
- “抄小道”,逃避防疫检查!被处罚!!!



